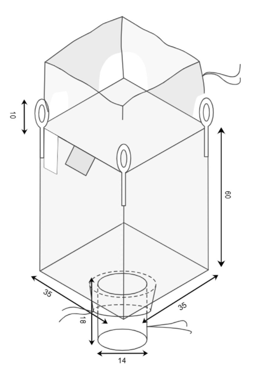
35" x 35" x 60" Duffel Top, Spout Bottom
Ratings & Reviews
1 review
Great Product and Service
by Taylor
Great product and service: Global-Pak’s customer service deserves a special mention. They were incredibly responsive and helpful throughout the entire purchasing process, ensuring I got exactly what I needed. Their dedication to quality and customer satisfaction truly sets them apart.







